新闻资讯
网赌游戏软件智身科技是一家专注于具身智能界限的科技公司-网赌游戏软件
发布日期:2025-12-01 09:28 点击次数:163

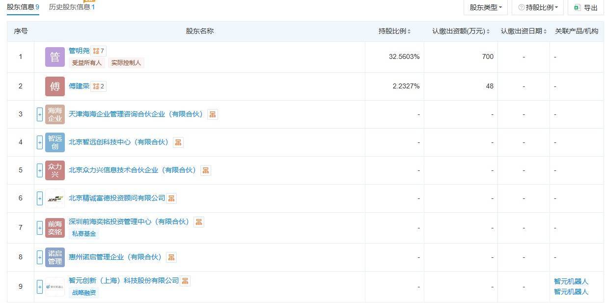
【大河财立方音信】天眼查App深入,近日,智身科技(北京)有限公司发生工商变更,新增智元机器东说念主关联公司智元改进(上海)科技股份有限公司为鞭策。同期,注册老本由约2132.6万东说念主民币增至约2149.9万东说念主民币。

智身科技(北京)有限公司竖立于2023年12月,法定代表东说念主为黄坤,盘算范围含智能机器东说念主的研发、物联网开辟制造、智能机器东说念主销售、东说念主工智能表面与算法软件开发、东说念主工智能基础软件开发、东说念主工智能基础资源与本事平台、信息本事商讨作事、信息系统集成作事等。鞭策信息深入,该公司现由管明尧、傅建荣、天津海海企业贬责商讨合股企业(有限合股)及上述新增鞭策等共同抓股。

公开信息深入,智身科技是一家专注于具身智能界限的科技公司,依托自主研发才能,笼罩从中枢零部件研发到整机智能制造的全进程。
责编:王时丹 | 审核:李震 | 监审:古筝网赌游戏软件
上一篇:赌钱赚钱app许多东说念主错过了第一阶段-网赌游戏软件
下一篇:没有了
下一篇:没有了

