新闻资讯

赌钱赚钱app
作家/质子
剪辑/嘉嘉
近日,康迪官宣旗下子公司杭州了望塔科技有限公司将为印尼最大数字生态GoTo集团提供3台机器东谈主用于测试和更变。康迪方面称:该笔订单的达成记号着康迪在东南亚市集的政策性拓展迈入新阶段。
其实关于康迪来说,GoTo集团仅3台的订单量关系到公司往常的转型,当高尔夫球场电车、卡丁车这类非公路车在北好意思遇冷时,康迪在“矜重现款流业务”同期,更要发展具身机器东谈主、储能这类“增长孵化业务。
愿望很好意思好,赛谈也很有出路,但在管库财经看来,康迪新政策转型能否到手转型的背后,不仅是康迪自身的政策意愿,更要看到自身储备和友商们肌肉和实力的对比。在此咱们不禁怀疑:康迪此时入局是否已晚?
【1】双轮运行新政策
“2025年上半年,全球宏不雅经济环境依然靠近诸多概略情趣,且这一趋势对咱们业务的发展带来了不小的挑战”,关于2025年上半年的缱绻事迹,康迪科技CEO陈峰不无忧虑,以为康迪需要在壮健现存业务的同期,寻找新赛谈。
据康迪财报数据深远:2025年上半年,康迪总净收入为3630万好意思元、净利润为170万好意思元,相较于客岁同期分歧着落39.3%、29.2%。
康迪业务上的不景气,不仅反应在营收利润的着落幅度上,更是能效。据同花顺数据深远:目下康迪共有739名职工,按照半年170万好意思元净利润筹画,2025年上半年康迪东谈主均创造的净利润仅为0.23万好意思元,折算为383好意思元/东谈主/月。
(起首:同花顺)
事迹上的缩减,让康迪变得不再“小而好意思”,而是“小而危”,康迪需要找到我方的第二增长弧线。
“咱们积极布局具身智能与新动力换电基础设施等新兴科技边界,鼓舞多项迫切互助落地,为遥远发展奠定坚实基础”,陈峰更是班师暗示,储能和具身机器东谈主将是康迪押注的主赛谈。
而本年上半年,康迪更名,将康迪车业更名为康迪科技,并与国表里多家厂商签署了互助契约:
6月,康迪与云深处互助,两边共同开发爽朗北好意思市集特定安防需求的巡检四足机器狗管束决策、给北好意思乃至全球市集提供极具家具上风的高尔夫智能装备;
8月,康迪全资子公司中中换电(浙江)科技有限公司与宁德时间签署《框架采购合同》,成为宁德时间换电站开拓供应商;
9月,康迪子公司杭州了望塔科技有限公司将为印尼最大数字生态GoTo集团提供三台机器东谈主用于测试与更变;
从6月至9月康迪的作为中咱们不可算计,康迪在具身机器东谈主边界和储能边界将遴选十足不一样的措施,储能边界将我方界说为上游零部件供应商,在具身机器东谈主边界则是将我方界说为厂商。
相通是新兴边界,经受不同的策略原因很苟简——康迪是作念电动全地形车,在动力方面有一定时间积贮,是以能够为宁德时间提供时间奇迹。
相悖具身机器东谈主触及到减慢器、机械臂等,康迪能够通过零部件采购竣事系统整合,开发出针对高尔夫球场等特定环境中的机器东谈主。
【2】康迪有莫得金刚钻
其实不管是具身机器东谈主如故储能市集,齐有着重大的市集空间和增长出路。
据瑞银证券中国机械行业分析师王斐丽预测:到2035年,全球东谈主形机器东谈主数目或率先200万台,到2050年或率先3亿台。具体在市集采购范围上则更大,2035年全球潜在市集空间为300亿好意思元到500亿好意思元,2050年有望达到1.4万亿好意思元到1.7万亿好意思元。
而储能行业市集出路相通乐不雅。
工业和信息化部装备工业发展中心发布的《新式储能时间发展路子图(2025—2035年)》中明确了储能行业的期间节点:新式储能产业将全面市集化发展,2030年宇宙新式储能装机率先2.4亿千瓦;2035年,宇宙新式储能装机率先3亿千瓦。
产业在加快落地,具身机器东谈主业务和储能悉数这个词产业链上齐平坦大路,但问题是:市集火热,康迪究竟能不可从均分得一杯羹?能不可收拢新兴产业的风口?
交易上的好意思好蓝图不取决于愿景,而在于康迪有莫得为储能和具身机器东谈主作念好了足够的准备。
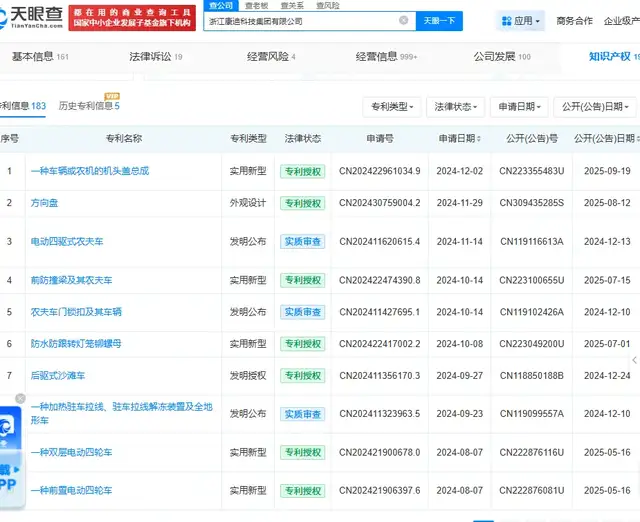
管库财经在天眼查中发现,目下康迪共有183条专利信息,但这些专利中大宗为车辆关联专利,如“一种车辆或农机的机头盖总成”“电动四驱式农夫车”“一种双层电动四轮车”“一种加热驻车拉线、驻车拉线解冻安装及全地形车”……
康迪专利中与“机器东谈主”“储能电板“关联的专利信息险些莫得。
(起首:天眼查)
而在康迪官网上,“好意思国康迪及家具”板块中,其家具信息中展示了高尔夫球场电车、电动摩托车、电动自行车,并未看到有机器东谈主或是储能关联家具的图片及先容。
另外从康迪与云深处、宁德时间的互助格局中咱们也能窥见一些脉络:
康迪与云深处的互助是“开发爽朗北好意思市集特定安防需求的巡检四足机器狗管束决策、给北好意思乃至全球市集提供极具家具上风的高尔夫智能装备”,目下云深处一经领有圆善的四足机器狗全套的家具和时间,康迪领有北好意思地区的销售渠谈和关于高尔夫球场场景的深远才调。
“康迪在北好意思领有训诲的销售网罗(包括上千家零卖门店)和原土化分娩和运营团队(如德克萨斯州工场),这能匡助大厂的家具快速落地北好意思市集,并秘籍一些贸易风险”,北京市炜衡讼师事务所结伙东谈主李可书暗示,两边各取所需。
现阶段两边是互补,然而往常云深处一朝买通了北好意思销售渠谈,对高尔夫球场场景有了深远力,那么关于云深处而言,与康迪互助是否还有交易上的价值?或者康迪日后还能给云深处带来什么价值?毕竟营销渠谈好开发,但专利家具需要期间和时间积贮。
此外康迪成为宁德时间换电站开拓供应商格局上也有访佛情况,第一财经报谈深远:换电站开拓包括集装箱、电板、机械臂、液压举升机等开拓,其中最掀开拓成本是电板,占到总成本的40%-50%,而宁德时间自己便是电板厂商。另外与宁德时间互助发力换电站的不仅仅康迪,还有蔚来、中石化等十多位互助伙伴。
鉴于康迪的时间储备,和云深处、宁德时间两边互助实质上看,要是往常这些互助膨胀不力,对康迪来说不是转型推力,反而是阻力。
“互助膨胀不力意味着前期插足的研发资源、东谈主力成本和期间契机成本可能无法赢得预期申报,从而株连合座转型顺序”,李可书建议,与宁德时间和云深处的互助是康迪转型的迫切捏手,但并非一齐。公司合座是向着“科技孵化平台”转型。
【3】尽是氪金玩家
虽说在2025年上半年财报会议上,康迪将具身机器东谈主、储能视为康迪往常发展的迫切布局,况且与云深处、宁德时间等头部企业开发了互助。
但从专利时间储备和家具展示上,康迪给人人展现的则是,康迪是一家念念要转型到储能和具身机器东谈主边界的生手。
与康迪处在生手村不同,现时具身机器东谈主和储能边界早已不是蓝海,而是进入时间、成本、产业链全地方竞争的尖锐化阶段。头部企业不仅已完成从中枢时间到量产才调的闭环,更在品牌、渠谈和生态互助上构筑起较高的行业壁垒。
据启信宝数据深远:适度2025年,储能产业共有828059家企业。这些企业溜达式光伏发电、电线电缆、电力电子元器件、变压器、隔阂、储能电板等多个中枢产业圭臬,而仅深圳一座城市,其储能关联产业链企业就多达7000多家,其中上市公司51家。
相通的情况也出当今具身机器东谈主边界,《新黄河》报谈深远:中国东谈主形机器东谈主整机平台率先160家,占据全球50%以上,另外还有涵盖减慢器、重要轴承、滑动轴承、智谋手模块及袖珍传动系统在内的中枢零部件供应链企业逾600家。
(起首:互联网)
从这些数据中,咱们不出丑到,不管是具身机器东谈主如故储能,齐一经迈入到产业训诲期,欠缺的仅仅临门一脚,欺骗终局的大范围膨胀。
其实关于康迪来说,正面投身储能、具身智能机器东谈主并非最缄默的采纳。
从目下市集现象和自身上风来看,康迪应该采纳从细分场景切入——如高尔夫球场景不雅巡检、换电设施运维等,这是一条求实旅途。但这相通条目企业具备极强的场景深远与定制化才调,而这恰正是好多从硬件制造转型的企业所欠缺的。
2025年头,董事长董学勤提议“中国智造出海需完成三级跳”的不雅点,即品牌出海、智造出海、生态出海,康迪将成为“中国时间出海的摆渡东谈主”。
回想而言,康迪布局具身机器东谈主与储能的政策地方具备前瞻性,但能否从“参与者”成长为“迫切玩家”,仍需冲突时间储备不及、产业链言语权弱、市集竞争强烈三重挑战。
目下来看,3台机器东谈主的订单是一个首先,但远不及以守旧其产业化往常。康迪是否已晚?谜底简略是:窗口仍在,但期间未几了。
END赌钱赚钱app

